Our projects: ScaleModels.ru : Search : ScaleWiki : Souvenir Shop :
Вход Карта Популярные Свежие Login with OpenID Зарегистрироваться
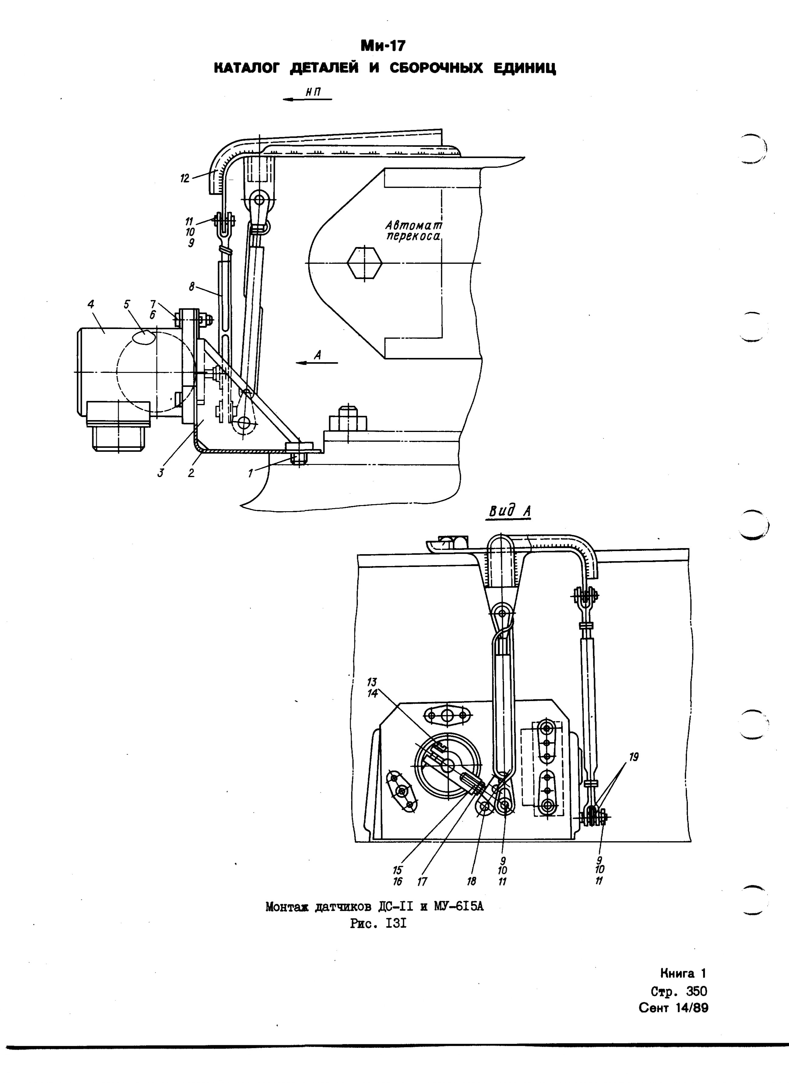
Галерея Технические описания Ми-8МТВ-1. Каталог деталей и сборочных единиц. Книга 1. Планер и системы. Mi-8MTV_KD_SO_B1_318


Расширенный поиск
Добавить фото в накопитель Экспорт RSS фото

Ми-8МТВ-1. Каталог деталей и сборочных единиц. Книга 1. Планер и системы.

1. Mi-8MTV_KD_... ... 315. Mi-8MTV_KD_... 316. Mi-8MTV_KD_... 317. Mi-8MTV_KD_... 318. Mi-8MTV_KD_... 319. Mi-8MTV_KD_... 320. Mi-8MTV_KD_... 321. Mi-8MTV_KD_... ... 543. Mi-8MTV_KD_...

Mi-8MTV_KD_SO_B1_318

Дата: 13.10.2025
Полный размер: 2592x3555
следующаяпоследняя
первая предыдущая
Mi-8MTV_KD_SO_B1_318
следующаяпоследняя
первая предыдущая