Our projects: ScaleModels.ru : Search : ScaleWiki : Souvenir Shop :
Вход Карта Популярные Свежие Login with OpenID Зарегистрироваться
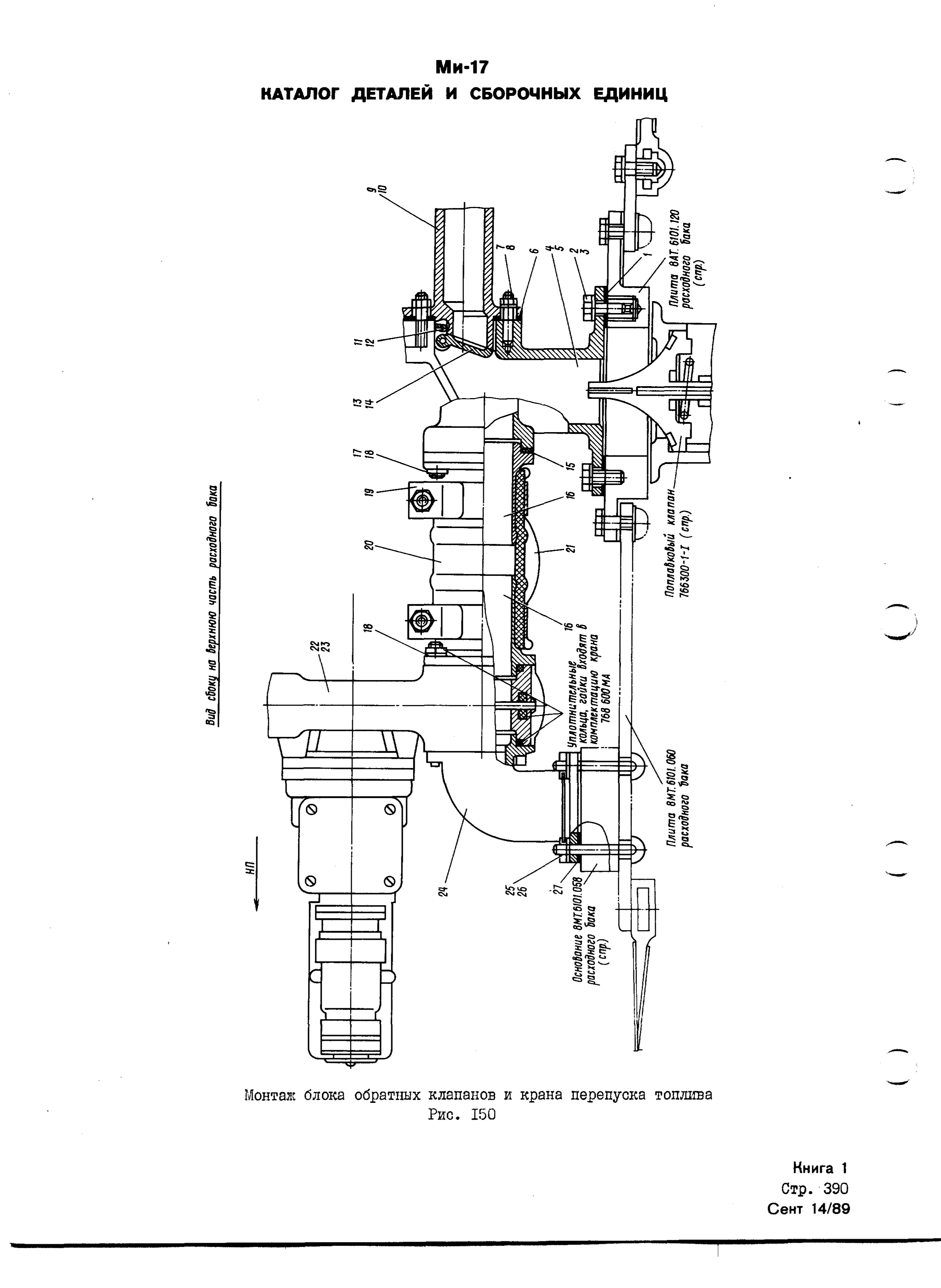
Галерея Технические описания Ми-8МТВ-1. Каталог деталей и сборочных единиц. Книга 1. Планер и системы. Mi-8MTV_KD_SO_B1_356


Расширенный поиск
Добавить фото в накопитель Экспорт RSS фото

Ми-8МТВ-1. Каталог деталей и сборочных единиц. Книга 1. Планер и системы.

1. Mi-8MTV_KD_... ... 353. Mi-8MTV_KD_... 354. Mi-8MTV_KD_... 355. Mi-8MTV_KD_... 356. Mi-8MTV_KD_... 357. Mi-8MTV_KD_... 358. Mi-8MTV_KD_... 359. Mi-8MTV_KD_... ... 543. Mi-8MTV_KD_...

Mi-8MTV_KD_SO_B1_356

Дата: 13.10.2025
Полный размер: 2600x3559
следующаяпоследняя
первая предыдущая
Mi-8MTV_KD_SO_B1_356
следующаяпоследняя
первая предыдущая