Our projects: ScaleModels.ru : Search : ScaleWiki : Souvenir Shop :
Вход Карта Популярные Свежие Login with OpenID Зарегистрироваться
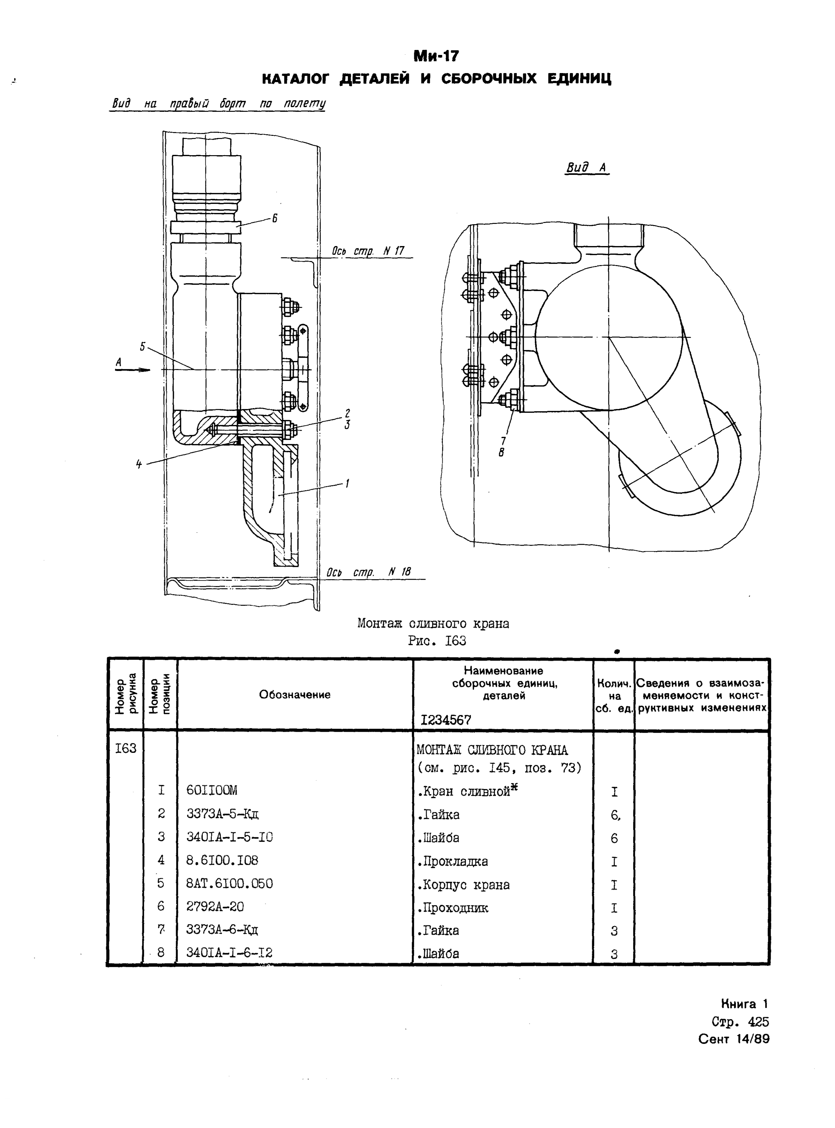
Галерея Технические описания Ми-8МТВ-1. Каталог деталей и сборочных единиц. Книга 1. Планер и системы. Mi-8MTV_KD_SO_B1_388


Расширенный поиск
Добавить фото в накопитель Экспорт RSS фото

Ми-8МТВ-1. Каталог деталей и сборочных единиц. Книга 1. Планер и системы.

1. Mi-8MTV_KD_... ... 385. Mi-8MTV_KD_... 386. Mi-8MTV_KD_... 387. Mi-8MTV_KD_... 388. Mi-8MTV_KD_... 389. Mi-8MTV_KD_... 390. Mi-8MTV_KD_... 391. Mi-8MTV_KD_... ... 543. Mi-8MTV_KD_...

Mi-8MTV_KD_SO_B1_388

Дата: 13.10.2025
Полный размер: 2675x3613
следующаяпоследняя
первая предыдущая
Mi-8MTV_KD_SO_B1_388
следующаяпоследняя
первая предыдущая