Our projects: ScaleModels.ru : Search : ScaleWiki : Souvenir Shop :
Вход Карта Популярные Свежие Login with OpenID Зарегистрироваться
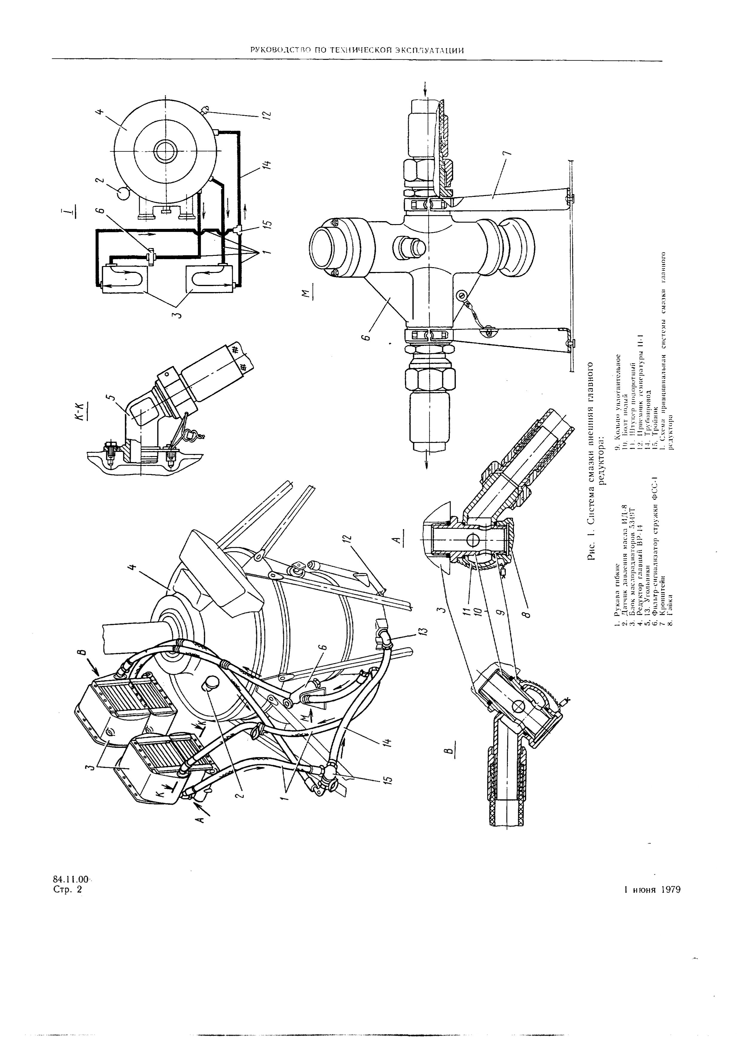
Галерея Технические описания Ми-8МТ. Руководство по технической эксплуатации. Книга 4. Силовая установка. Mi-8MTV_RTE_B4_207


Расширенный поиск
Добавить фото в накопитель Экспорт RSS фото

Ми-8МТ. Руководство по технической эксплуатации. Книга 4. Силовая установка.

1. Mi-8MTV_RTE... ... 204. Mi-8MTV_RTE... 205. Mi-8MTV_RTE... 206. Mi-8MTV_RTE... 207. Mi-8MTV_RTE... 208. Mi-8MTV_RTE... 209. Mi-8MTV_RTE... 210. Mi-8MTV_RTE... ... 278. Mi-8MTV_RTE...

Mi-8MTV_RTE_B4_207

Дата: 22.08.2025
Полный размер: 2467x3509
следующаяпоследняя
первая предыдущая
Mi-8MTV_RTE_B4_207
следующаяпоследняя
первая предыдущая