Our projects: ScaleModels.ru : Search : ScaleWiki : Souvenir Shop :
Вход Карта Популярные Свежие Login with OpenID Зарегистрироваться
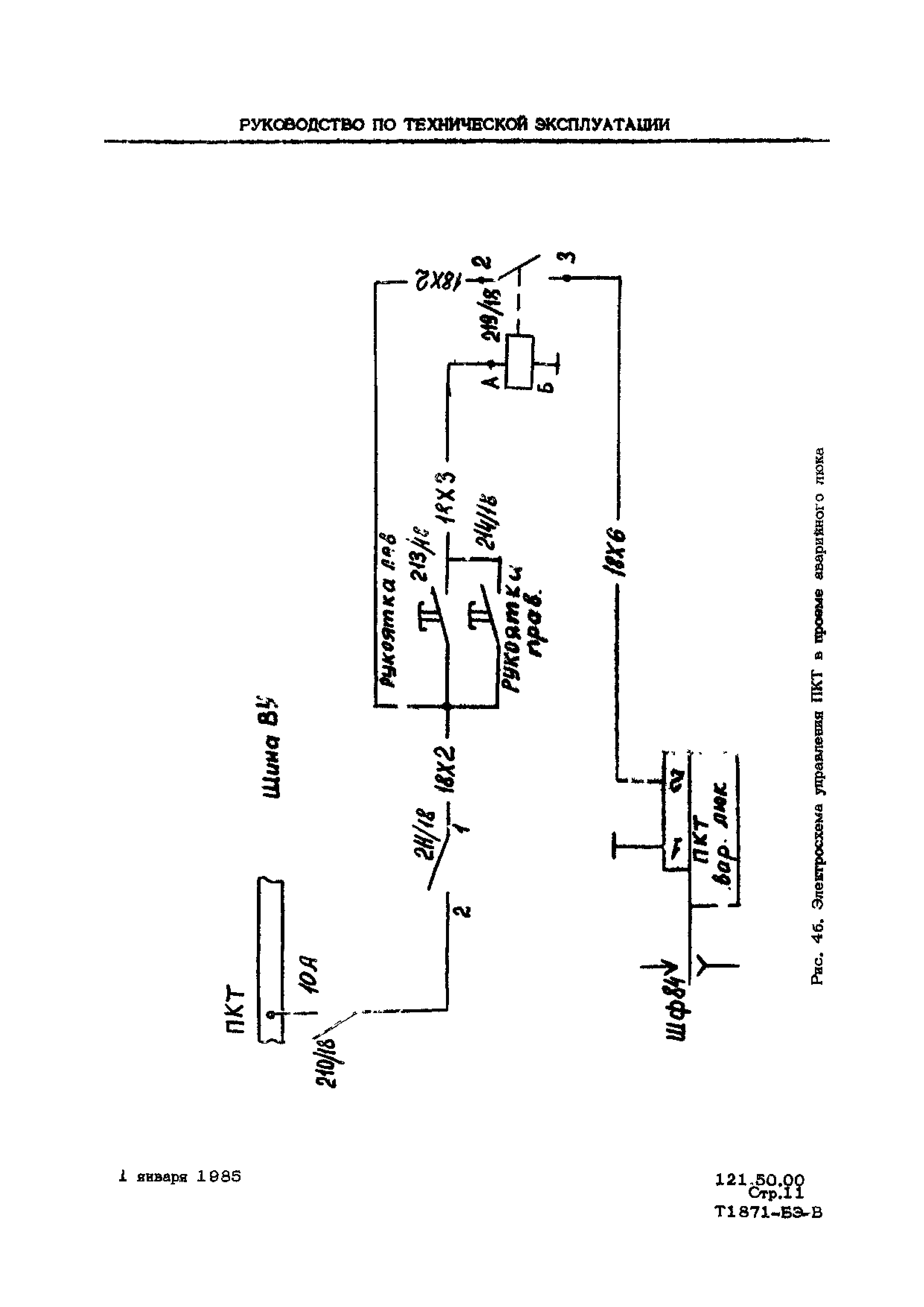
Галерея Технические описания Ми-8МТ. Руководство по технической эксплуатации. Книга 6. Авиационное вооружение. Артиллерийское вооружение. Mi-8MTV_RTE_B6_165


Расширенный поиск
Добавить фото в накопитель Экспорт RSS фото

Ми-8МТ. Руководство по технической эксплуатации. Книга 6. Авиационное вооружение. Артиллерийское вооружение.

1. Mi-8MTV_RTE... ... 162. Mi-8MTV_RTE... 163. Mi-8MTV_RTE... 164. Mi-8MTV_RTE... 165. Mi-8MTV_RTE... 166. Mi-8MTV_RTE... 167. Mi-8MTV_RTE... 168. Mi-8MTV_RTE... ... 180. Mi-8MTV_RTE...

Mi-8MTV_RTE_B6_165

Дата: 29.09.2025
Полный размер: 2482x3508
следующаяпоследняя
первая предыдущая
Mi-8MTV_RTE_B6_165
следующаяпоследняя
первая предыдущая